Sme tu pre Vás, opýtajte sa
- Код: 7418840010
- EAN: 4031093624480
Різьбова фрезаTMUSP MTK з хвостовиком TiCN HA з внутрішнім охолодженням D10x16x1 мм GÜHRING
Názov SK:
Závitová fréza TMUSP MTK TiCN stopka HA s vnútorným chladením D10x16x1 mm GÜHRING
Na objednávku
(na externom sklade)
- Doprava od 3,50 €
- Pri nákupe: nad 150 € doprava zadarmo!
- Zdieľajte produkt priateľom
Цільнотвердосплавна різьбонарізна фреза з внутрішнім охолодженням
Конструкція: Завдяки використанню принципу фрезерування можна досягти точної глибини різьби, дуже високої якості поверхні всередині різьби, безпечної обробки важкооброблюваних матеріалів, а також нарізання різьби на дуже короткі відстані від дна.
З урахуванням кроку різьби можна обробляти також більші діаметри. Завдяки канавчастому виїмці її можна використовувати для різних розмірів різьби з однаковим кроком.
Застосування: Для метричної нормальної різьби (правої та лівої) згідно з DIN 13 для наскрізних та глухих отворів.
Примітка: Цільнотвердосплавні різьбонарізні фрези для інших типів різьби (UNC, UNF, трубна різьба тощо) доступні на запит. Для отримання більш детальної інформації, будь ласка, зверніться до технічного додатка.
Виробник: Gühring KG, Herderstr. 50-54, 72458 Albstadt, DE, +497431170, info@guehring.de
Závitová fréza z masívneho tvrdokovu s vnútorným chladením
Vyhotovenie: Vďaka využívaniu princípu frézovania je možné dosahovať presné hĺbky závitov, veľmi vysokú akosť povrchu vnútri závitu, procesne bezpečné obrábanie ťažko obrábateľných materiálov, ako aj zhotovovanie závitov do veľmi krátkych vzdialeností od dna. Pri zohľadnení stúpania závitu je možné obrábať aj väčšie priemery. S hrdlovým zápichom, možnosť použitia na rôzne veľkosti závitov s rovnakým stúpaním. Použitie: Na metrické normálne závity (pravotočivé aj ľavotočivé závity) podľa normy DIN 13 pre priechodné a slepé vŕtané otvory. Poznámka: Závitové frézy z masívneho tvrdokovu na ďalšie typy závitov (UNC, UNF, rúrkový závit a pod.) k dispozícii na vyžiadanie. Podrobnejšie informácie nájdete v technickej prílohe.
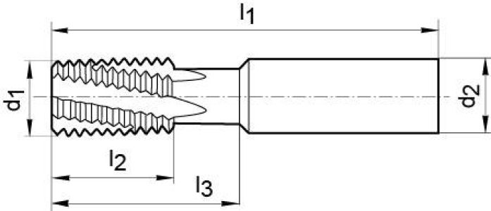
Hersteller: Gühring KG, Herderstr. 50-54, 72458 Albstadt, DE, +497431170, info@guehring.de| Ø d1 | |
|---|---|
| Stúpanie závitu | |
| Dĺžka rezného ostria l2 | |
| d ≥ pre Ø závitu | |
| Užitočná dĺžka l3 | |
| Celková dĺžka l1 | |
| Ø stopky d2 | |
| Počet drážok | |
| Oceľ < 700 N/mm² f | |
| Tvrdená oceľ < 55 HRC | |
| INOX ferit./martenzit. | |
| INOX austenit. | |
| INOX duplex | |
| Liatina GG/GTS | |
| Liatina GGG | |
| Titán > 850 N/mm² | |
| Hliník < 8 % Si |





