Neviete si vybrať?
Sme tu pre Vás, opýtajte sa
Recenzie
Naposledy prezerané
WhatsApp
Email
Facebook
LinkedIn
X
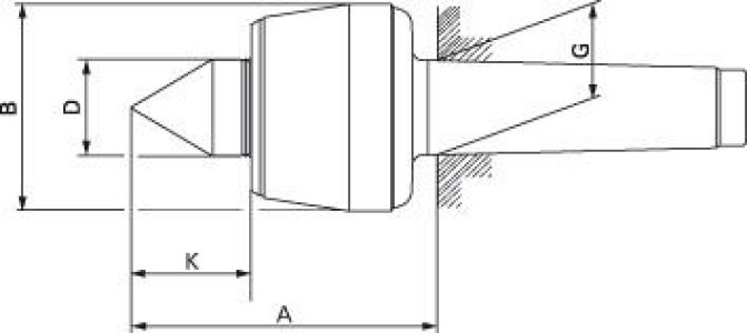
З’єднаний наконечник діркопробивача MK1 RÖHM
Názov SK:
Hrot jamkovača spojený MK1 RÖHM
329,64 €
s DPH 23 %
Na objednávku
(na externom sklade)
- Doprava od 3,50 €
- Pri nákupe: nad 150 € doprava zadarmo!
- Zdieľajte produkt priateľom
Popis produktu
Рухома центрувальна точка, PRO HM
Конструкція: корпус загартований та шліфований, з кутом вершини 60°.
Застосування: Для класичного токарного обробки.
Виробник: Röhm GmbH, Heinrich-Röhm-Straße 50, 89567 Sontheim, DE, +497325160, info@roehm.com
Popis SK:
Pohyblivý strediaci hrot, PRO HM
Pohyblivý strediaci hrot, PRO HM
Vyhotovenie: teleso kalené a brúsené, s vrcholovým uhlom 60°. Použitie: Na klasické sústruženie.
Hersteller: Röhm GmbH, Heinrich-Röhm-Straße 50, 89567 Sontheim, DE, +497325160, info@roehm.comSúvisiace produkty





